27 / 29
27話:蒸気機関と刺客
しおりを挟む
ツユクサ先生と俺は、製紙工房に顔を出していた。
当然、護衛のヒナゲシさんも一緒だ。
カタクリ、スズランの父娘がやっている製紙工房だ。
先生と俺が最新の製紙工程を実現させた工房。
そのおかげで、今ではこの工房は大繁盛している。
技術は広く公開されているが、先行している分だけ、生産効率もいい。
今では、空いていた敷地をつかって増築し、大規模な製紙工房になっている。
もはや工房というより、工場というべきかもしれない。
そして、今俺たちがいる休憩所も以前より広くキレイになっていた。
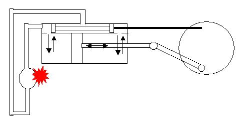
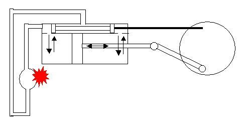
「この弁で蒸気を逃がしたり、入れたりして、ピストンを動かすわけですよね」
俺が書いた蒸気機関の図面を見て、スズランが言った。
「そうね」
ツユクサ先生は、飲んでいた紅茶のカップを置くと、首肯するように言った。
簡単に「そうね」と言っているが、実はツユクサ先生ですら理解するのに結構時間がかかったのだ。
俺にしてもそうだ。蒸気機関の存在は知っていても仕組みは知らなかった。
その図面は書き写したり、「カガク」の書を読んで仕組みを理解するまでにはそれなりに時間がかかったのだ。
スズランは、出された紅茶には口もつけず、説明を聞いている間もジッと図面を見ていた。
スズランは俺の書いた簡易図面と説明で一発で「蒸気機関」の仕組みを理解した。
この製紙工場の実質的責任者。
俺の知っている人の中では、数学的、エンジニア的センスでは最高だと思える存在だ。
一見、美少年のように見える少女。年齢は元の世界であれば小学生くらいかもしれない。
異世界の天才少女だ。
「これを造るのはすごく大変だと思います」
スズランはきっぱりと言った。
「そうなの?」
なんで大変なのか分からないという顔でツユクサ先生が訊く。
先生は、いつでもポジティブである。
自分の命が狙われていることもあまり気にした様子を見せない。
まあ、ヒナゲシさんが護衛につき、俺の家に寝泊まりしているということで安心しているのかもしれないが。
「ここで高圧の蒸気を封じ込める方法が分かりません」
「鉄の大きな容器をつくればいいと思うわ」
自信たっぷりに先生は言った。
碧い瞳が真正面から、スズランを見つめる。スズランは困ったような笑みを浮かべた。
「ここ、パイプをつなげますよね。つなぎ目をどう作るんですか?」
キュンとツユクサ先生が首を回し、顔をこっちに向けた。俺の方に。
俺に説明しろと、その碧い瞳が訴えかけている。
「ネジか…… 焼ハメか…… でもって、外から補強するとか。鍛接もできるんじゃないかな」
俺は考えられる方法を並べてみた。
ネジはすでにこの世界に存在している。
ワインを造る道具で、実を押しつぶすプレス機がある。
それには、木ネジが使用されている。
ネジ自体の工作は、簡単ではないが、基礎的なノウハウがこの世界にはある。
そもそも、現在、大学側の事情で運用実験が止まっている「印刷機」だってネジを使っている。
焼ハメは、金属の熱膨張を利用したものだ。
熱い温度で金属を膨張させて、はめ込む。そして冷却してギュッと締めるのだ。
蒸気温より熱い温度でやればパイプとボイラーを接合出来るんじゃないかと思う。
鍛接は金属を熱して接合する方法だ。
鍛冶職人なら出来る技術だと思う。ただ、中が空洞のパイプだとどうなのだろうか?
「そうとう手間がかかりますね」
スズランが「う~ん」と考え込むようにして言った。
彼女の「手間」というのは「制作費」のことだろう。
「これは、魔法大学の実証研究なので、費用のことは今は考えなくていいわ」
ツユクサ先生がスズランの指摘を察して言った。
「単純に技術的なことだけでいいんですか?」
「そうね。今は、技術的な可能、不可能の検証について意見が欲しいわ」
スズランは、数学の天才で、製紙に関する製造にも詳しい。
元の世界でいえば、フィールドエンジニア(現場技術者)みたいな存在だ。
彼女の意見を聞いて損はないだろう。
「高圧の蒸気を閉じ込める大きな器――。鍋釜をつくる方法で一枚板を鍛造(たんぞう)すれば、可能かもしれません」
分厚い鉄板をハンマーでガンガン叩いて、円形のボイラーを造る。
確かに鉄と人手があれば、なんとか出来そうな気がしないでもない。
「多分、この図面と同じ形の物は作れるかもです」
「作れそうなの?」
パッとツユクサ先生の顔が明るくなる。
「でもですね――」
「でも?」
「高温高圧の蒸気の圧力の計算が必要です。強度に耐えるのに十分な構造にしなければならないと思います。そして、無駄に頑丈だとお金がかかります。製作に時間もかかります。効率が悪いです。重すぎると移動も設置場所も限定されます」
いかにも実践の中で鍛えられたエンジニアの意見だった。
「強度計算ね。うーん、それは大丈夫よね。ライ」
俺に確認する先生。
「ええ、それは問題無いと思います」
答える俺。だって書いてあるから。俺の書いた簡易図面には書いてないけど、必要な強度については禁呪書「カガク」に書いてある。
それは分かっているのだ。
スズランは納得したようにうなづくと、再び俺の書いた簡易図面に目を落す。
「あと、これを造るなら、鍛冶屋だけでは無理だと思います」
「鍛冶屋だけじゃ無理?」
「水車か風車製造の職人の意見を聞いた方がいいと思います」
そうか。
確かにそうだ。
こう言った技術の基礎になる部分蓄積しているのは、水車や風車の製造に携わる職人だ。
水や風から動力を得るか、蒸気から得るか、言ってみればその違いだけだ。
運動ベクトルを変換するための技術ノウハウも持っているのは、確かに彼らだ。
「水車、風車職人か…… 大学に伝手はあると思うけど」
思案気にツユクサ先生はつぶやいた。
少しずつかもしれないが、この世界に、蒸気機関――
つまり、動力機関を造り上げるプロジェクトは進み始めていた。
◇◇◇◇◇◇
製紙工房から市街に戻る途中だった。
「今日は3度目か…‥」
ヒナゲシさんが小さくつぶやいた。
そして立ち止まった。
艶のある黒髪をサイドで留めた髪の毛。いわゆるサイドテイルがふわりと揺れる。
彼女は周囲を確認した。
疎林と何もない空間。ただ、石造りの道が続いている。
キレイであるが、やや釣り目気味のキツイ目が更に鋭くなる。
彼女を中心に、見えない糸で蜘蛛が巣を作る様な感じがする。
兄の高弟であり、剣の達人だけができるような気配の探り方なのかもしれない。
「消えたか……」
ふっとため息をつくように、彼女はそう言った。
「なにかいたんですか?」
俺は訊いた。本当は「なにか」じゃない。先生を狙っている刺客だ。
ただ、ストレートにそれを口にできなかった。
「いたな。おそらく今もおる―― ソレガシの間合いをはかっているのかもしれぬ」
褐色の肌をした。女剣士。ヒナゲシ・ザイドリッツ。
背中には自分の身長といい勝負の大剣を背負っている。
彼女はその剣を棒切れのように軽々と振りまわす。
伊達に、大陸最強と言われたハルシャギク兄ちゃんの弟子ではない。
「ヒナゲシさんの力を恐れているのかしら?」
「分かりませぬが…… 尋常な相手ではありませぬ」
今日になっていきなりだった。
工房に向かって行くときに2回。そして今の1回だ。
彼女が「何か」気配を感じたのは。
市街と工房をつなぐ道は、それほど人気があるというわけではない。
時々、資材や製品を運ぶ荷馬車が通るくらいだ。
「人気のないとこなので、狙っているのかな……」
俺は自分で口に出し言葉で、自分が緊張してしまった。
周囲を見渡した。しかし、俺にはヒナゲシさんのような力はない。
だから、さっぱり分からない。
「ソレガシの力量を計っているのか…… それとも、他の手段を考えているのか――」
「他の手段?」
「刺客は一人とは限らぬゆえ。囮を使い、ソレガシを誘因することも可能性としてはあるかもしれぬ」
確かにそうだった。
先生の命を狙っている刺客が単独行動をしているという保証はどこにもない。
複数の人間が動いていることは十分に考えられることだった。
立ち止まっていたヒナゲシさんが歩きだした。
ツユクサ先生も俺も続いて歩く。
今のところ、なにかの危険がすぐにやってくるということは無いようだった。
「向こうが動き出したなら、こっちからも仕掛けたらどうかしら?」
ツユクサ先生が軽い口調でそう言った。
自分が狙われていることなど意に介さないような、そんな声音だった。
当然、護衛のヒナゲシさんも一緒だ。
カタクリ、スズランの父娘がやっている製紙工房だ。
先生と俺が最新の製紙工程を実現させた工房。
そのおかげで、今ではこの工房は大繁盛している。
技術は広く公開されているが、先行している分だけ、生産効率もいい。
今では、空いていた敷地をつかって増築し、大規模な製紙工房になっている。
もはや工房というより、工場というべきかもしれない。
そして、今俺たちがいる休憩所も以前より広くキレイになっていた。
「この弁で蒸気を逃がしたり、入れたりして、ピストンを動かすわけですよね」
俺が書いた蒸気機関の図面を見て、スズランが言った。
「そうね」
ツユクサ先生は、飲んでいた紅茶のカップを置くと、首肯するように言った。
簡単に「そうね」と言っているが、実はツユクサ先生ですら理解するのに結構時間がかかったのだ。
俺にしてもそうだ。蒸気機関の存在は知っていても仕組みは知らなかった。
その図面は書き写したり、「カガク」の書を読んで仕組みを理解するまでにはそれなりに時間がかかったのだ。
スズランは、出された紅茶には口もつけず、説明を聞いている間もジッと図面を見ていた。
スズランは俺の書いた簡易図面と説明で一発で「蒸気機関」の仕組みを理解した。
この製紙工場の実質的責任者。
俺の知っている人の中では、数学的、エンジニア的センスでは最高だと思える存在だ。
一見、美少年のように見える少女。年齢は元の世界であれば小学生くらいかもしれない。
異世界の天才少女だ。
「これを造るのはすごく大変だと思います」
スズランはきっぱりと言った。
「そうなの?」
なんで大変なのか分からないという顔でツユクサ先生が訊く。
先生は、いつでもポジティブである。
自分の命が狙われていることもあまり気にした様子を見せない。
まあ、ヒナゲシさんが護衛につき、俺の家に寝泊まりしているということで安心しているのかもしれないが。
「ここで高圧の蒸気を封じ込める方法が分かりません」
「鉄の大きな容器をつくればいいと思うわ」
自信たっぷりに先生は言った。
碧い瞳が真正面から、スズランを見つめる。スズランは困ったような笑みを浮かべた。
「ここ、パイプをつなげますよね。つなぎ目をどう作るんですか?」
キュンとツユクサ先生が首を回し、顔をこっちに向けた。俺の方に。
俺に説明しろと、その碧い瞳が訴えかけている。
「ネジか…… 焼ハメか…… でもって、外から補強するとか。鍛接もできるんじゃないかな」
俺は考えられる方法を並べてみた。
ネジはすでにこの世界に存在している。
ワインを造る道具で、実を押しつぶすプレス機がある。
それには、木ネジが使用されている。
ネジ自体の工作は、簡単ではないが、基礎的なノウハウがこの世界にはある。
そもそも、現在、大学側の事情で運用実験が止まっている「印刷機」だってネジを使っている。
焼ハメは、金属の熱膨張を利用したものだ。
熱い温度で金属を膨張させて、はめ込む。そして冷却してギュッと締めるのだ。
蒸気温より熱い温度でやればパイプとボイラーを接合出来るんじゃないかと思う。
鍛接は金属を熱して接合する方法だ。
鍛冶職人なら出来る技術だと思う。ただ、中が空洞のパイプだとどうなのだろうか?
「そうとう手間がかかりますね」
スズランが「う~ん」と考え込むようにして言った。
彼女の「手間」というのは「制作費」のことだろう。
「これは、魔法大学の実証研究なので、費用のことは今は考えなくていいわ」
ツユクサ先生がスズランの指摘を察して言った。
「単純に技術的なことだけでいいんですか?」
「そうね。今は、技術的な可能、不可能の検証について意見が欲しいわ」
スズランは、数学の天才で、製紙に関する製造にも詳しい。
元の世界でいえば、フィールドエンジニア(現場技術者)みたいな存在だ。
彼女の意見を聞いて損はないだろう。
「高圧の蒸気を閉じ込める大きな器――。鍋釜をつくる方法で一枚板を鍛造(たんぞう)すれば、可能かもしれません」
分厚い鉄板をハンマーでガンガン叩いて、円形のボイラーを造る。
確かに鉄と人手があれば、なんとか出来そうな気がしないでもない。
「多分、この図面と同じ形の物は作れるかもです」
「作れそうなの?」
パッとツユクサ先生の顔が明るくなる。
「でもですね――」
「でも?」
「高温高圧の蒸気の圧力の計算が必要です。強度に耐えるのに十分な構造にしなければならないと思います。そして、無駄に頑丈だとお金がかかります。製作に時間もかかります。効率が悪いです。重すぎると移動も設置場所も限定されます」
いかにも実践の中で鍛えられたエンジニアの意見だった。
「強度計算ね。うーん、それは大丈夫よね。ライ」
俺に確認する先生。
「ええ、それは問題無いと思います」
答える俺。だって書いてあるから。俺の書いた簡易図面には書いてないけど、必要な強度については禁呪書「カガク」に書いてある。
それは分かっているのだ。
スズランは納得したようにうなづくと、再び俺の書いた簡易図面に目を落す。
「あと、これを造るなら、鍛冶屋だけでは無理だと思います」
「鍛冶屋だけじゃ無理?」
「水車か風車製造の職人の意見を聞いた方がいいと思います」
そうか。
確かにそうだ。
こう言った技術の基礎になる部分蓄積しているのは、水車や風車の製造に携わる職人だ。
水や風から動力を得るか、蒸気から得るか、言ってみればその違いだけだ。
運動ベクトルを変換するための技術ノウハウも持っているのは、確かに彼らだ。
「水車、風車職人か…… 大学に伝手はあると思うけど」
思案気にツユクサ先生はつぶやいた。
少しずつかもしれないが、この世界に、蒸気機関――
つまり、動力機関を造り上げるプロジェクトは進み始めていた。
◇◇◇◇◇◇
製紙工房から市街に戻る途中だった。
「今日は3度目か…‥」
ヒナゲシさんが小さくつぶやいた。
そして立ち止まった。
艶のある黒髪をサイドで留めた髪の毛。いわゆるサイドテイルがふわりと揺れる。
彼女は周囲を確認した。
疎林と何もない空間。ただ、石造りの道が続いている。
キレイであるが、やや釣り目気味のキツイ目が更に鋭くなる。
彼女を中心に、見えない糸で蜘蛛が巣を作る様な感じがする。
兄の高弟であり、剣の達人だけができるような気配の探り方なのかもしれない。
「消えたか……」
ふっとため息をつくように、彼女はそう言った。
「なにかいたんですか?」
俺は訊いた。本当は「なにか」じゃない。先生を狙っている刺客だ。
ただ、ストレートにそれを口にできなかった。
「いたな。おそらく今もおる―― ソレガシの間合いをはかっているのかもしれぬ」
褐色の肌をした。女剣士。ヒナゲシ・ザイドリッツ。
背中には自分の身長といい勝負の大剣を背負っている。
彼女はその剣を棒切れのように軽々と振りまわす。
伊達に、大陸最強と言われたハルシャギク兄ちゃんの弟子ではない。
「ヒナゲシさんの力を恐れているのかしら?」
「分かりませぬが…… 尋常な相手ではありませぬ」
今日になっていきなりだった。
工房に向かって行くときに2回。そして今の1回だ。
彼女が「何か」気配を感じたのは。
市街と工房をつなぐ道は、それほど人気があるというわけではない。
時々、資材や製品を運ぶ荷馬車が通るくらいだ。
「人気のないとこなので、狙っているのかな……」
俺は自分で口に出し言葉で、自分が緊張してしまった。
周囲を見渡した。しかし、俺にはヒナゲシさんのような力はない。
だから、さっぱり分からない。
「ソレガシの力量を計っているのか…… それとも、他の手段を考えているのか――」
「他の手段?」
「刺客は一人とは限らぬゆえ。囮を使い、ソレガシを誘因することも可能性としてはあるかもしれぬ」
確かにそうだった。
先生の命を狙っている刺客が単独行動をしているという保証はどこにもない。
複数の人間が動いていることは十分に考えられることだった。
立ち止まっていたヒナゲシさんが歩きだした。
ツユクサ先生も俺も続いて歩く。
今のところ、なにかの危険がすぐにやってくるということは無いようだった。
「向こうが動き出したなら、こっちからも仕掛けたらどうかしら?」
ツユクサ先生が軽い口調でそう言った。
自分が狙われていることなど意に介さないような、そんな声音だった。
0
あなたにおすすめの小説
どうしよう私、弟にお腹を大きくさせられちゃった!~弟大好きお姉ちゃんの秘密の悩み~
さいとう みさき
恋愛
「ま、まさか!?」
あたし三鷹優美(みたかゆうみ)高校一年生。
弟の晴仁(はると)が大好きな普通のお姉ちゃん。
弟とは凄く仲が良いの!
それはそれはものすごく‥‥‥
「あん、晴仁いきなりそんなのお口に入らないよぉ~♡」
そんな関係のあたしたち。
でもある日トイレであたしはアレが来そうなのになかなか来ないのも気にもせずスカートのファスナーを上げると‥‥‥
「うそっ! お腹が出て来てる!?」
お姉ちゃんの秘密の悩みです。
【完結】乙女ゲーム開始前に消える病弱モブ令嬢に転生しました
佐倉穂波
恋愛
転生したルイシャは、自分が若くして死んでしまう乙女ゲームのモブ令嬢で事を知る。
確かに、まともに起き上がることすら困難なこの体は、いつ死んでもおかしくない状態だった。
(そんな……死にたくないっ!)
乙女ゲームの記憶が正しければ、あと数年で死んでしまうルイシャは、「生きる」ために努力することにした。
2023.9.3 投稿分の改稿終了。
2023.9.4 表紙を作ってみました。
2023.9.15 完結。
2023.9.23 後日談を投稿しました。
王女の中身は元自衛官だったので、継母に追放されたけど思い通りになりません
きぬがやあきら
恋愛
「妻はお妃様一人とお約束されたそうですが、今でもまだ同じことが言えますか?」
「正直なところ、不安を感じている」
久方ぶりに招かれた故郷、セレンティア城の月光満ちる庭園で、アシュレイは信じ難い光景を目撃するーー
激闘の末、王座に就いたアルダシールと結ばれた、元セレンティア王国の王女アシュレイ。
アラウァリア国では、新政権を勝ち取ったアシュレイを国母と崇めてくれる国民も多い。だが、結婚から2年、未だ後継ぎに恵まれないアルダシールに側室を推す声も上がり始める。そんな頃、弟シュナイゼルから結婚式の招待が舞い込んだ。
第2幕、連載開始しました!
お気に入り登録してくださった皆様、ありがとうございます! 心より御礼申し上げます。
以下、1章のあらすじです。
アシュレイは前世の記憶を持つ、セレンティア王国の皇女だった。後ろ盾もなく、継母である王妃に体よく追い出されてしまう。
表向きは外交の駒として、アラウァリア王国へ嫁ぐ形だが、国王は御年50歳で既に18人もの妃を持っている。
常に不遇の扱いを受けて、我慢の限界だったアシュレイは、大胆な計画を企てた。
それは輿入れの道中を、自ら雇った盗賊に襲撃させるもの。
サバイバルの知識もあるし、宝飾品を処分して生き抜けば、残りの人生を自由に謳歌できると踏んでいた。
しかし、輿入れ当日アシュレイを攫い出したのは、アラウァリアの第一王子・アルダシール。
盗賊団と共謀し、晴れて自由の身を望んでいたのに、アルダシールはアシュレイを手放してはくれず……。
アシュレイは自由と幸福を手に入れられるのか?
つまらなかった乙女ゲームに転生しちゃったので、サクッと終わらすことにしました
蒼羽咲
ファンタジー
つまらなかった乙女ゲームに転生⁈
絵に惚れ込み、一目惚れキャラのためにハードまで買ったが内容が超つまらなかった残念な乙女ゲームに転生してしまった。
絵は超好みだ。内容はご都合主義の聖女なお花畑主人公。攻略イケメンも顔は良いがちょろい対象ばかり。てこたぁ逆にめちゃくちゃ住み心地のいい場所になるのでは⁈と気づき、テンションが一気に上がる!!
聖女など面倒な事はする気はない!サクッと攻略終わらせてぐーたら生活をGETするぞ!
ご都合主義ならチョロい!と、野望を胸に動き出す!!
+++++
・重複投稿・土曜配信 (たま~に水曜…不定期更新)
処刑された勇者は二度目の人生で復讐を選ぶ
シロタカズキ
ファンタジー
──勇者は、すべてを裏切られ、処刑された。
だが、彼の魂は復讐の炎と共に蘇る──。
かつて魔王を討ち、人類を救った勇者 レオン・アルヴァレス。
だが、彼を待っていたのは称賛ではなく、 王族・貴族・元仲間たちによる裏切りと処刑だった。
「力が強すぎる」という理由で異端者として断罪され、広場で公開処刑されるレオン。
国民は歓喜し、王は満足げに笑い、かつての仲間たちは目を背ける。
そして、勇者は 死んだ。
──はずだった。
十年後。
王国は繁栄の影で腐敗し、裏切り者たちは安穏とした日々を送っていた。
しかし、そんな彼らの前に死んだはずの勇者が現れる。
「よくもまあ、のうのうと生きていられたものだな」
これは、英雄ではなくなった男の復讐譚。
彼を裏切った王族、貴族、そしてかつての仲間たちを絶望の淵に叩き落とすための第二の人生が、いま始まる──。
三歳で婚約破棄された貧乏伯爵家の三男坊そのショックで現世の記憶が蘇る
マメシバ
ファンタジー
貧乏伯爵家の三男坊のアラン令息
三歳で婚約破棄され
そのショックで前世の記憶が蘇る
前世でも貧乏だったのなんの問題なし
なによりも魔法の世界
ワクワクが止まらない三歳児の
波瀾万丈
ユーザ登録のメリット
- 毎日¥0対象作品が毎日1話無料!
- お気に入り登録で最新話を見逃さない!
- しおり機能で小説の続きが読みやすい!
1~3分で完了!
無料でユーザ登録する
すでにユーザの方はログイン
閉じる
